반응형


정면에서 스케치 작업을 한다.

길이 48, 두께 12로 돌출보스한다.

위의 형상을 작업한다. 위의 왼쪽 부터 작업한다.
중심선을 가로 세로로 그어주고 지름 20인 원을 관통시킨다.

다음은 중간 부분을 스케치한다.
원 5개를 치수에 맞게 배치하고 '선형 스케치 패턴'으로 X축 Y축으로 패턴을 준다.
패턴 작업 후 돌출컷으로 관통시킨다.

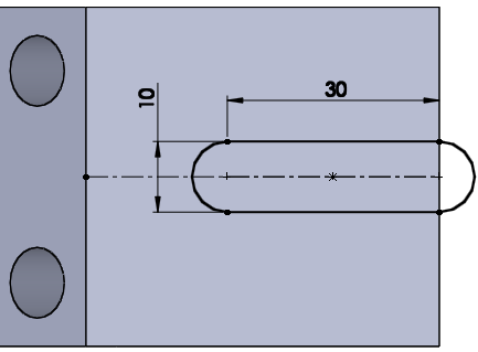
오른쪽 형상에서 중심선을 가로로 긋고
직선 홈을 지름 10으로 아래와 같이 그려준다.
스케치 종료 후 돌출컷으로 관통 시켜준다.

마지막으로 필렛으로 왼쪽 끝은 15, 오른쪽 끝은 10으로 해준다.
[완성 모델링]

[작업 파일]
'솔리드웍스 > 따라하기 (study cam)' 카테고리의 다른 글
| 생산자동화 기능사 - 과제11번 모델링하기 (cad study-솔리드웍스 ) (0) | 2020.03.20 |
|---|---|
| 생산자동화 기능사 - 과제17번 모델링하기 (cad study-솔리드웍스 ) (0) | 2020.03.19 |
| 생산자동화 기능사 - 과제16번 모델링하기 (cad study-솔리드웍스 ) (0) | 2020.03.19 |
| 생산자동화 기능사 - 과제8번 모델링 뷰꺼내기 (cad study-솔리드웍스 ) (0) | 2020.03.19 |
| 생산자동화 기능사 - 과제8번 모델링하기 (cad study-솔리드웍스 ) (2) | 2020.03.18 |