
주의) 이번 도면화 작업에서는
동영상에서 치수 수치가 자주 바뀌어 작업이 매끄럽지 않았다.
정면도의 세로치수는 80, 가로치수는 80, 두께 14로 한다.
1. 솔리드 작업
정면에서 스케치 작업을 한다.
치수작업이 잘못되었다.
안쪽 선의 길이가 아니라 외각 선의 길이를 70 -> 80으로 변경해야 한다.






관통 후 정면을 기준으로 대칭 복사한다.

필렛 10을 준다.

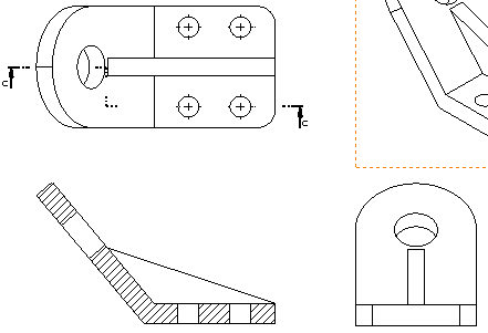
[완성 모델링]

[작업파일]
2. 도면 작업
1. 도면크기 420 X 297를 만들고 마우스 우클릭 '시트형식편집'을 누른다.
2. 윤곽선과 중심마크를 그린다.
3. 표제란을 만든다.
4. 모델뷰를 눌러 모델링 한 파일에서 뷰를 꺼낸다.
표제란 입력시 아래와 같이 입력한 후 수직 중앙이 잘 안맞으면 확대해서 하나씩 맞추거나
선과 노트를 드래그로 모두 선택 '맞춤 - 선 사이에 맞춤'을 누른다.


'모델뷰'를 눌러 모델링 한 파일에서 뷰를 꺼낸다.
'미리보기'와 배율을 '1:1'로 한다.

정면도를 삭제한다. 평면도에서 단면도를 꺼내 정면도 위치에 꺼낸다.
'도구모음'의 단면도를 누르고 절단선을 아래와 같이 선택한다.

절단선이 나타나면 아래에 점을 찍고 '단일 오프셋'으로 선을 꺽어준다.

꺽어지는 부분에 점을 찍고 마지막 점을 클릭 - 확인

아래는 평면도로부터 정면도의 단면이 꺼내진 상태이다.

'절단선에 대한 레이어를 설정한다.
일점쇄선으로 두께는 0.5mm

선두께가 전체적으로 가늘다.
'옵션-문서속성-선 형식'으로 가서 두께를 0.5로 한다.

정면도 작업을 한다.
'뷰레이아웃-보조투상도'클릭하고 정면도의 모서리 선을 클릭하면 아래와 같이 투상도가 나온다.

보조투상도에서 아래와 같이 영역을 설정한다.

'뷰레이아웃-부분도'를 클릭해서 원하는 부분만 남긴다.
부분도의 아래선은 외형선으로 변경한다.

현재 전체적으로 배율을 1:2로 축소한다.
표제란의 척도도 변경해준다.
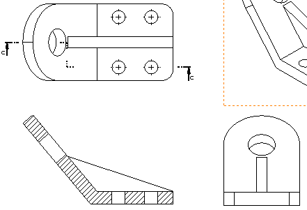
[작업 파일]
'솔리드웍스 > 따라하기 (tech king 카카오tv)' 카테고리의 다른 글
| 생자 실기 solidworks 05번 모델링 + 도면 작업 (0) | 2020.03.23 |
|---|---|
| 생자 실기 solidworks 04번 모델링 (0) | 2020.03.23 |
| 생자 실기 solidworks 02번 모델링 + 도면 작업 (0) | 2020.03.22 |
| 생자 실기 solidworks 01번 도면 작업 (0) | 2020.03.20 |
| 생자 실기 solidworks 01번 모델링 (0) | 2020.03.20 |