반응형
1. 솔리드 작업








[작업 파일]
생자_실기_solidworks_02번.SLDPRT
0.13MB
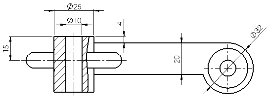
2. 도면 작업




부분단면도 처리
'부분단면도' 클릭 - 미리보기 체크
- 부분단면도 처리할 부분을 스케치 한다.
- 깊이 (선택을 잘해야 한다)





왼쪽 위 위치에 부품번호, 표면거칠기를 표기한다.
괄호는 '3점호'로 그린다. 점(,)은 '주석-노트'를 클릭해서 작업한다.


치수를 기입하기 전에 '옵션-문서속성'에 들어가서
오프셋 거리를 6->10으로 조정
'치수 보조선 중앙'에 체크할 것
원 지름 치수기입시 '파이'가 보이지 않으면 왼쪽 밑에 있는 파이 기호를 클릭할 것.
지름이 반지름으로 표현될 때 왼쪽메뉴-지시선탭에서 수정한다.





[도면 파일]
'솔리드웍스 > 따라하기 (tech king 카카오tv)' 카테고리의 다른 글
| 생자 실기 solidworks 05번 모델링 + 도면 작업 (0) | 2020.03.23 |
|---|---|
| 생자 실기 solidworks 04번 모델링 (0) | 2020.03.23 |
| 생자 실기 solidworks 03번 모델링 + 도면 작업 (0) | 2020.03.23 |
| 생자 실기 solidworks 01번 도면 작업 (0) | 2020.03.20 |
| 생자 실기 solidworks 01번 모델링 (0) | 2020.03.20 |