솔리드웍스/로봇모델링
로봇모델링 3일차(0508) - 1(스케치 마지막)
유머인
2020. 5. 8. 11:13
반응형
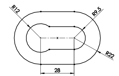
87페이지 (가로로 놓고 본다)

기준면은 : 최초의 기준면 정할때 쓴다.
피처 과정에서의 기준면은 '참조형상-기준면'을 사용한다.






사용하지 않는 선은 요소잘라내기로 삭제하고 필렛을 준다.
그런데 필렛 오류메시지가 뜬다. 치수가 오차가 난다.
곡률을 R2.5에서 R2로 변경한다.

왼쪽 편에 키홈을 스케치한다.
나머지는 삭제를 해준다.


오른쪽의 외곽 스케치 작업을 해준다.
일단 R32의 원을 그린다.
그리고 R32의 원과 오른쪽 R22의 반지름과 접선을 시켜줄 직선을 그린다.
직선을 원 두 곳과 탄젠트 조건(tan)으로 붙여준다.
붙여주고 직선을 움직여보면 원의 접선방향(tan조건)으로만 움직이고
다른 방향으로는 움직이지 않는다.

아래쪽 접선을 스케치하고 필요없는 선들은 제거해 준다.

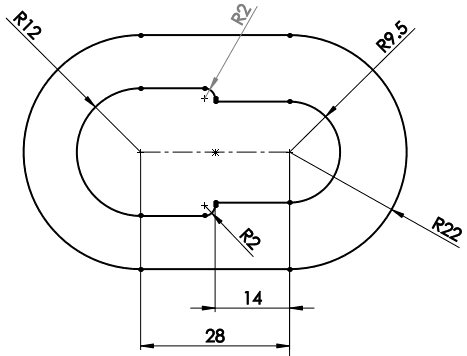
손톱모양의 중심 교차축을 만들어 본다.
아크나 원은 교차점이 있어야 한다.
왼쪽 원에서 임의의 선을 긋고 중심선과 각도 45도로 해 준다.

임의의 직선과 직교되는 선을



두개의 축이 교차점이 생긴다.
교차점을 솔리드웍스가 잘 인식 못한다.
요소잘라내기로 아래 부분을 잘라내고
끝점을 이용한다.



파란색 부분을 요소 늘리기를 하고
오프셋 58을 적용시킨다.








3점호를 선택해서 두 원 사이에 그려주고 필요없는 부분을 잘라준다.

스케치 완성
